企业职工基本养老保险、工伤保险单位
参保登记指南
1 办理条件
a) 国有企业;
b) 城镇集体所有制企业;
c) 股份制企业;
d) 外商投资企业、外国企业驻滇机构;
e) 城镇私营企业;
f) 城镇有雇工的个体工商户;
g) 军队企业;
h) 非企业法人单位;
i) 有签订劳动合同人员的机关事业单位。
2 办理渠道
窗口办理、PC端办理、市场监管登记共享。
3 办理时限
1个工作日。
4 收费标准
不收费。
5 申请材料
5.1 新成立企业联办登记
提供以下材料:
a) 法定代表人身份证;
b) 经单位盖章的授权书及单位社保专管员身份证。
5.2 非新成立企业申请登记
提供以下材料:
a) 营业执照、批准成立证件或者其他核准执业证件;
b) 法人登记证;
c) 法定代表人身份证;
d) 经单位盖章的授权书及单位社保专管员身份证;
e) 成建制转入的,需提供转出地社会保险经办机构开具的基本养老保险关系转移介绍信和单位参保信息。
6 联系电话
0871-67475793
7 办理地点和办理机构
呈贡区呈祥街515号政务服务中心B区人社窗口
8 相关法律法规、政策文件
本文件涉及到的法律法规、政策文件包括:
a) 《中华人民共和国社会保险法》(中华人民共和国主席令第三十五号)
b) 《社会保险费征缴暂行条例》(中华人民共和国国务院令259号)
c) 《工伤保险条例》(中华人民共和国国务院令第586号)
d) 《人力资源社会保障部办公厅关于做好企业“五证合一”社会保险登记工作的通知》(人社厅发〔2016〕130号)
e) 《云南省社会保险费征缴条例》(云南省第十届人民代表大会常务委员会公告第42号)
f) 《云南省人民政府关于印发<云南省企业职工基本养老保险条例实施办法>的通知》(云政发〔2000〕212号)
g) 《香港澳门台湾居民在内地(大陆)参加社会保险暂行办法》(人力资源和社会保障部 国家医疗保障局令第41号)
h) 《云南省人民政府关于印发<云南省企业职工基本养老保险条例实施办法>的通知》(云政发〔2006〕139号)
i) 《云南省人民政府关于印发云南省实施<工伤保险条例>办法的通知 》(云政发〔2011〕255号)
j) 《云南省社会保险局关于印发<云南省基本养老保险经办业务规程(试行)的通知》(云社险〔2004〕27号)
附录A
表1云南省企业职工基本养老保险、工伤保险单位参保登记申报表.docx
表2云南省企业职工基本养老保险、工伤保险单位参保登记表.docx
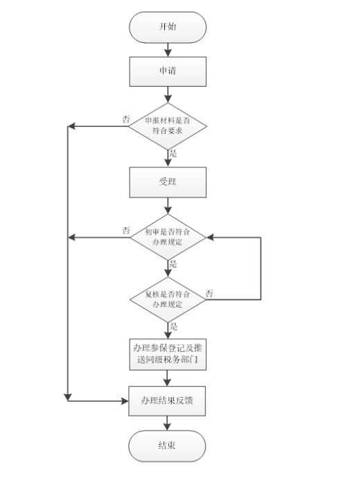
企业职工基本养老保险、工伤保险单位参保登记流程图
